服務熱線
180-5003-0233
一種具有接料功能的生料帶分卷機的製作方法1.本實用新型涉及生料帶生產技術領域,尤其涉及一種具有接料功能的生料帶分卷機。背景技術:2.生料帶是水暖安裝中常用的一種輔助用品,用於管件連接處,增強管道連接處......
一種分卷機的製作方法1.本實用新型屬於網袋編織袋加工領域,具體涉及一種分卷機。背景技術:2.網袋編織袋出廠時為雙層的編織袋,在實際使用時需要將雙層的網袋編織袋分卷成單層的兩卷網袋編......
切割機,Cutting Machine英語短句,例句大全切割機,Cutting Machine1)Cutting Machine切割機1.Control System For Cutting Machine In N......
pp膜的特點及應用PP膜是聚丙烯膜,由丙烯聚合而製得的一種熱塑性樹脂。通常較厚、較韌,抗拉強度較高,可用於大棚膜、承重包裝袋等。1、透明、質輕、耐熱性能好;2、熔點164~-17......
一種封箱膠探花网站在线观看的製作方法本實用新型涉及機械加工技術領域,更具體地說,它涉及一種包裝產品的製造設備,尤其涉及一種封箱膠探花网站在线观看。背景技術:隨著生產力的進步,市場上的商品種類越來越多樣化。在......
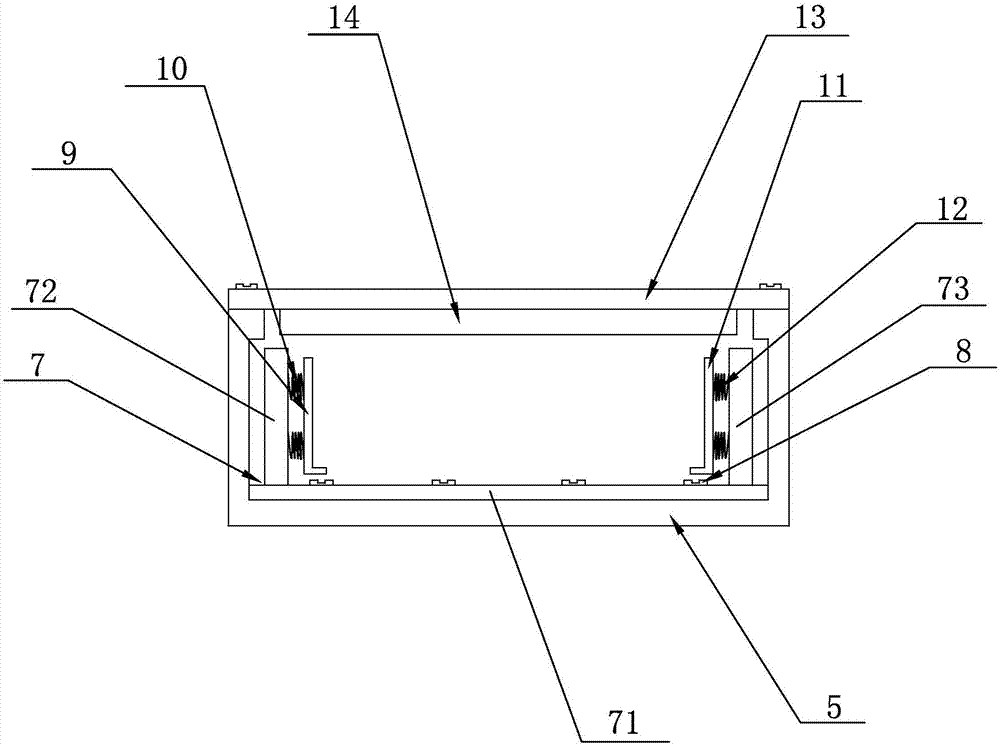
一種膠帶探花网站在线观看的製作方法本實用新型涉及探花网站在线观看,尤其涉及一種膠帶探花网站在线观看。背景技術:膠帶探花网站在线观看是一種將寬幅膠帶分切成多條窄膠帶的機械設備。專利號為CN201520894790.2的實用新型......
透明薄膜探花网站在线观看壓輪裝置的製作方法專利名稱:透明薄膜探花网站在线观看壓輪裝置的製作方法技術領域:,本實用新型涉及一種透明薄膜探花网站在线观看壓輪裝置,特別涉及用於原午夜探花在线视频為PE、OPP、BOPP等相關透明有膠和無膠薄......
一種探花网站在线观看倒掛平移式收卷結構的製作方法本實用新型涉及探花网站在线观看技術領域,特別涉及一種探花网站在线观看倒掛平移式收卷結構。背景技術:目前傳統的探花网站在线观看通常是通過液壓翻轉的方式進行上下料操作。比如中國專利公開號CN27......
一種PE纏繞膜生產用分切裝置的製作方法本實用新型涉及pe纏繞膜生產技術領域,具體為一種pe纏繞膜生產用分切裝置。背景技術:pe纏繞膜是工業用裝膜製品,具有拉伸強度高,延伸率大、自粘性好,透明度高等物......
一種探花网站在线观看的動力機構的製作方法本實用新型涉及一種探花网站在线观看的動力機構。背景技術:為了提升加工效率,市麵一些片材(例如生料帶)一般先加工成較寬的片材,之後,通過探花网站在线观看分切成較窄的片材。如申請公布號......
一種聚四氟乙烯薄膜窄帶探花网站在线观看的製作方法本實用新型涉及聚四氟乙烯薄膜分切領域,尤其涉及一種聚四氟乙烯薄膜窄帶探花网站在线观看。背景技術:聚四氟乙烯薄生料機械性質較軟,特別是其較小的橫向抗拉強度,分切較薄的聚四氟......
卷式熱敏票探花网站在线观看糾偏裝置的製作方法本實用新型屬於熱敏票生產設備技術領域,尤其是涉及一種卷式熱敏票探花网站在线观看糾偏裝置。背景技術:在熱敏票分切的工序中,為了保證分切後的熱敏票寬度一致,需要對熱敏票在傳輸......
膠帶探花网站在线观看的製作方法本實用新型涉及膠帶加工生產的技術領域,特別涉及一種膠帶探花网站在线观看。背景技術:膠帶探花网站在线观看是一種將很寬的膠帶分切成較窄的膠帶的探花网站在线观看,公告號為cn207536909u的......
自動上料探花网站在线观看的製作方法【專利摘要】本發明公開了一種自動上料探花网站在线观看,該自動上料探花网站在线观看包括供料切斷機構、取料搬運壓裝機構、工件輸送機構和雙道切斷機構,所述供料切斷機構固定在地麵上,工件輸......
用於高速探花网站在线观看張力調節的控製裝置的製作方法專利名稱:用於高速探花网站在线观看張力調節的控製裝置的製作方法技術領域:本實用新型涉及高速探花网站在线观看技術領域,尤其是一種用於高速探花网站在线观看張力調節的控製裝置。背景技術:高速探花网站在线观看......